通翔顾问
进出口医疗器械产品

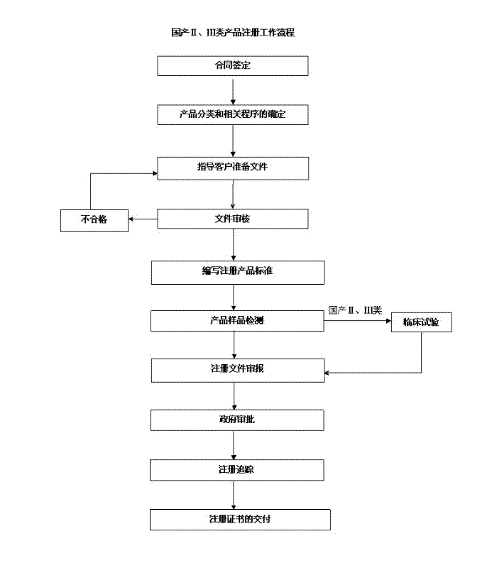
国产境内二、三类医疗器械注册流程图

发布时间:2020/3/13 10:33:18   发布来源:www.txzcoc.com    作者:通翔顾问

国产境内二、三类医疗器械注册流程图

国产境内二、三类医疗器械注册流程图

注:图片来源于网络,如有侵权请联系删除!

点击咨询

本文地址:

版权所有 转载时必须以连接形式注明作者和原始出处

0

立即咨询通翔认证验厂专家

13798281568立即在线咨询

相关资讯

    暂无相关的资讯...

Copyright © 2010 - 2014 All Rights Reserved 通翔企业管理顾问 版权所有

粤ICP备17069828号